
Keeping Tabs on Alice
Framework for Patent Claims Drafting and Patent Litigation
The Supreme Court reaffirmed in Alice the framework set forth in Mayo for “distinguishing patents that claim laws of nature, natural phenomena, and abstract ideas from those that claim patent-eligible applications of these concepts.” Alice Corp. v. CLS Bank Int’l, 134 S. Ct. 2347, 2355 (2014).
Many decisions have been rendered post-Alice that add to the body of legal precedent on 101 patent eligibility. Still, patent practitioners – and the courts themselves — continue to struggle to define clearly the Alice two-step analysis: what is a “patent-ineligible concept” [Alice Step 1] and then, what is a “patent eligible application” [Alice Step 2].
This is especially true in the area of software patents.
While the decisions themselves provide incremental insight, a framework is needed to transform this accumulated court precedent into a practical tool for patent claims drafting and patent litigation post-Alice.
The Juhasz Burge PC Firm has developed a six-step analytic process that we are happy to share. Cases in litigation, as well as claims being written today, can be analyzed using this PSAI-PG℠ Framework to determine the risk and probability that your patent claims will survive an Alice challenge.
Click each tab below to review key post-Alice decisions run through the PSAI-PG℠ analysis:
In Re Marco Guldenaar Holding B.V.
Decided by the Federal Circuit on December 28, 2018
Patent eligible: NO
Illustrative drawing above. Illustrative patent claim(s) appear at the end.
Why it failed the Alice Challenge
Conventional technological solution (the addition of conventional information to well-known dice) to a technological problem (communicating information to gamers indicating whether the player has won or lost a wager).
PSAI-PG℠ Analysis
Problem: Use of dice that are informatively equal – e.g., each die has identical indicia on each of its six faces – defines a predetermined range of outcomes for wagering.
Solution: Use of dice that are informatively not equal – e.g., a first die has a marking on one side, a second die has a marking on two sides, and a third die has a marking on three sides – defines a new range of outcomes for wagering.
Abstract Idea (patent ineligible subject matter): A set of rules for playing a game.
Improvement: Use of dice whose sides are differently marked from each other creates a different set of odds than is possible from rolling conventional dice that are identically marked.
Patent eligible application
Preemption: YES. Preempts well-known concept of placing a wager, rolling the dice, and paying a payout amount if at least one wagered outcome occurs.
General function: YES. Die’s marking or lack of marking communicating information to participants indicating whether the player has won or lost a wager is printed matter which is not patent eligible. The argument that “die’s marking or lack of marking ” is “non-conventional” is nothing more than the addition of conventional information to well-known die.
U.S. Patent Application No. 13/078,196, Illustrative Claim 1
1. A method of playing a dice game comprising:
providing a set of dice, the set of dice comprising a first die, a second die, and a third die, wherein only a single face of the first die has a first die marking, wherein only two faces of the second die have an identical second die marking, and wherein only three faces of the third die have an identical third die marking;
placing at least one wager on at least one of the following: that the first die marking on the first die will appear face up, that the second die marking on the second die will appear face up, that the third die marking on the third die will appear face up, or any combination thereof;
rolling the set of dice; and
paying a payout amount if the at least one wager occurs.
In Re Ameranth Cases
Decided by the Northern District of California on September 25, 2018
Patent eligible: NO
Illustrative drawing above. Illustrative patent claim(s) appear at the end.
Why it failed the Alice Challenge
Conventional technological solution (synchronizing and automatically reformatting hospitality information contained in a master menu/master database with different wireless handheld devices with varying display screen sizes and characteristics) to a technological problem (taking the large-scale paper menus that we have all seen and trying to get them down into a blackberry screen in a way that was usable and readable).
PSAI-PG℠ Analysis
Problem: Taking the large-scale paper menus that we have all seen and trying to get them down into a blackberry screen in a way that was usable and readable.
Solution: A system wherein hospitality information is configured and transmitted to wireless devices with different display screen sizes, and those devices are able to engage in real-time synchronous communication with other devices in the system.
Abstract Idea (patent ineligible subject matter): Configuring and transmitting menu information.
Improvement: Synchronizing and automatically reformatting hospitality information contained in a master menu/master database with different wireless handheld devices with varying display screen sizes and characteristics.
Patent eligible application
Preemption: YES. Preempts well-known concept of generating and transmitting menus to wireless devices.
General function: YES. Patentholder did not dispute that hardware and software elements are “commonly known.” The argument that “synchronization” is “non-conventional” is nothing more than the addition of conventional computing components to well-known business practices, not unlike Windows CE operating system synchronizes between handheld devices, internet, and desktop infrastructure. “Real time” limitation is adding a “faster” step to the claim. Patentholder also did not dispute that following elements are “commonly known”: “automatic formatting of the programmed handheld configuration for display as cascaded sets of linked graphical user interface screens” and the requirement of using “a different number of user interface screens from at least one other wireless handheld computing device in the system.” Calling them “non-conventional” does not make them so when they are not.
Pat 6,243,699, Illustrative Claim 1
1. An information management and real time synchronous communications system for configuring and transmitting hospitality menus comprising:
a. a central processing unit,
b. a data storage device connected to said central processing unit,
c. an operating system including a first graphical user interface,
d. a master menu including at least menu categories, menu items and modifiers, wherein said master menu is capable of being stored on said data storage device pursuant to a master menu file structure and said master menu is capable of being configured for display to facilitate user operations in at least one window of said first graphical user interface as cascaded sets of linked graphical user interface screens, and
e. menu configuration software enabled to generate a programmed handheld menu configuration from said master menu for wireless transmission to and programmed for display on a wireless handheld computing device, said programmed handheld menu configuration comprising at least menu categories, menu items and modifiers and wherein the menu configuration software is enabled to generate said programmed handheld menu configuration by utilizing parameters from the master menu file structure defining at least the menu categories, menu items and modifiers of the master menu such that at least the menu categories, menu items and modifiers comprising the programmed handheld menu configuration are synchronized in real time with analogous information comprising the master menu, wherein the menu configuration software is further enabled to generate the programmed handheld menu configuration in conformity with a customized display layout unique to the wireless handheld computing device to facilitate user operations with and display of the programmed handheld menu configuration on the display screen of a handheld graphical user interface integral with the wireless handheld computing device,
wherein said customized display layout is compatible with the displayable size of the handheld graphical user interface wherein the programmed handheld menu configuration is configured by the menu configuration software for display as programmed cascaded sets of linked graphical user interface screens appropriate for the customized display layout of the wireless handheld computing device,
wherein said programmed cascaded sets of linked graphical user interface screens for display of the handheld menu configuration are configured differently from the cascaded sets of linked graphical user interface screens for display of the master menu on said first graphical user interface, and
wherein the system is enabled for real time synchronous communications to and from the wireless handheld computing device utilizing the programmed handheld menu configuration including the capability of real time synchronous transmission of the programmed handheld menu configuration to the wireless handheld computing device and real time synchronous transmissions of selections made from the handheld menu configuration on the wireless handheld computing device, and
wherein the system is further enabled to automatically format the programmed handheld menu configuration for display as cascaded sets of linked graphical user interface screens appropriate for a customized display layout of at least two different wireless handheld computing device display sizes in the same connected system, and
wherein a cascaded set of linked graphical user interface screens for a wireless handheld computing device in the system includes a different number of user interface screens from at least one other wireless handheld computing device in the system.
BSG Tech LLC v. BuySeasons Inc.
Decided by the Federal Circuit on August 15, 2018
Patent eligible: NO
Illustrative drawing above. Illustrative patent claim(s) appear at the end.
Why it failed the Alice Challenge
Conventional technological solution (updating classifications, parameters and values of an index for searching for an object) to a technological problem (locating multiple types of products having multiple parameters whose parameters are changing over time).
PSAI-PG℠ Analysis
Problem: Available method for indexing products were insufficiently able to handle multiple types of products having multiple parameters since the parameters for describing products are evolving.
Solution: A self-evolving generic indexing system wherein the index for an item to be searched is continuously evolving to include new classifications, parameters, and values that searchers of that item use to search for that item.
Abstract Idea (patent ineligible subject matter): Considering historical usage information while inputting data.
Improvement: This solution allows subsequent users to be guided in their search for an item by the classifications, parameters, and values that prior searchers have used to search for that item.
Patent eligible application
Preemption: YES. Patent requires a database that includes classifications, parameters and values which are modified over time. Preempts well-known concept of categorical data storage.
General function: YES. Patent specification explicitly states that general purpose computers can be used to implement the invention. Because the combination of these limitations simply uses a generic database to implement the abstract idea, it does not add an inventive concept.
Pat 6,243,699, Illustrative Claim 1
1. A method of indexing and retrieving data being posted by a plurality of users to a wide area network, comprising:
providing the users with a mechanism for posting the data as parametized items;
providing the users with listings of previously used parameters and previously used values for use in posting the data;
providing the users with summary comparison usage information corresponding to the previously used parameters and values for use in posting the data; and
providing subsequent users with the listings of previously used parameters and values, and corresponding summary comparison usage information for use in searching the network for an item of interest.
Pat 6,035,294, Illustrative Claim 10
10. A method of indexing an item on a database, comprising:
providing the database with a structure having a plurality of item classifications, parameters, and values, wherein individual parameters are independently related to individual item classifications, and individual values are independently related to individual parameters;
guiding the user in selecting a specific item classification for the item from the plurality of item classifications;
storing the item on the database as a plurality of user-selected item classification/parameter value combinations; and
guiding the user in selecting at least one of (a) the parameters of the combinations by displaying relative historical usage information for a plurality of parameters previously used by other users, and (b) the values of the combinations by displaying relative historical usage information for a plurality of values previously used by other users.
Pat 6,195,652, Illustrative Claim 9
9. A self-evolving database system having a predefined structure, comprising:
a data structure that stores goods and services as combinations of item classifications, parameters, and values, wherein at least some of the classifications, parameters, or values used to describe different items vary over time, where end users can add additional parameters without modifying the predefined structure of the database; and
at least one data interface that guides the end users in their choices of the combinations by displaying summary comparison usage information derived from the choices of previous users.
Local Intelligence v. HTC America et al.
Decided by the Northern District of California April 6, 2018
Patent eligible: YES
Illustrative drawing above. Illustrative patent claim(s) appear at the end.
Why it passed the Alice Challenge
Unconventional technological solution (displaying content based on the phone’s current location data from a location server, and data from a phone’s memory (as opposed to a carrier’s records), in order to provide and refresh location-relevant communication services on a phone’s display as the phone’s current location changes) to a technological problem (navigating services content provided by computing device more quickly and efficiently).
PSAI-PG℠ Analysis
Problem: Navigating applications quickly and efficiently to access data and activate a desired function.
Solution: Displaying applications on a display panel of a computing device based on specific time and place data.
Abstract Idea (patent ineligible subject matter): No. The claims are directed to an improvement of “tailoring content based on the viewers location or address.” The claims do not recite an abstract idea.
Improvement: Use a location server associated with a system such as a WiFi network (and not a positioning system like GPS) to obtain a phone’s current location, and a phone’s “datastore” or memory (as opposed to a carrier’s records), in order to provide and refresh location-relevant communication services on a phone’s display as the phone’s current location changes.
Patent eligible application
Preemption: NO. Since not abstract.
General function: NO. Since not abstract.
Pat 8,903,067, Illustrative Claim 1
1. A telephone having
a display panel;
a datastore including at least one function,
wherein the at least one function comprises information relating to a current location of a telephone and at least one other condition associated with a user of the telephone,
wherein the at least one function is associated with at least one communication service;
circuitry operable to connect the telephone to a location server to obtain a current location of the telephone; and
a function selector programmable to refresh a screen on the display panel of the telephone to include at least one communication service associated with the function, based at least in part on a current location of the telephone.
Intellectual Ventures v. Symantec et al.
Decided by the Federal Circuit March 15, 2018. (nonprecedential decision)
Patent eligible: NO
Illustrative drawing above. Illustrative patent claim(s) appear at the end.
Why it failed the Alice Challenge
Conventional technological solution (making a substantially concurrent copy of digital data for backup) to a technological problem (backing up mission critical data for immediate availability after a disaster).
PSAI-PG℠ Analysis
Problem: Available method for backing up digital data were insufficiently reliable for mission-critical data because the copies were not substantially current.
Solution: Using the local disk mirroring utility of a conventional client-server network operating system to copy the data from a primary network server to a primary DTU, then through a communication link to a remote DTU, then to a nonvolatile server store on a remote network server.
Abstract Idea (patent ineligible subject matter): Storing an up-date backup copy of data at a remote location.
Improvement: Unlike data shadowing or tape backup approaches, this solution remotely stores mirrored data and hence maintains a substantially current copy of the data, including data in open files, without limiting access by other users.
Patent eligible application
Preemption: YES. Preempts conventional steps for using the local disk mirroring utility of a conventional client-server network to store data
General function: YES. “Network server,” “nonvolatile data buffer,” “communication link,” are conventional, generic, and operate as expected. No recitation of how these components function in combination in an arguably inventive way. “Compression” and “decompression” steps are nowhere recited to be unconventional and the claims don’t purport to implement an improvement in compression technology.
Pat 5,537,533, Illustrative Claims 25 and 33
25. A method for remote mirroring of digital data, said method comprising the steps of:
copying the data from a primary network server to a nonvolatile data buffer in a data transfer unit which is digitally connected to the primary network server, the primary network server including an operating system which is capable of accessing a nonvolatile server store, the data copied to the data transfer unit being a substantially concurrent copy of data which is being stored by the operating system in the nonvolatile server store of the primary network server;
copying the data from the data transfer unit to an input end of a communication link which has an output end physically separated from its input end;
generating and sending a spoof packet to the operating system of the primary network server; and
copying the data from the output end of the communication.
33. The method of claim 25, further comprising the steps of:
compressing the data prior to said step of copying the data from the data transfer unit to the input end of the communication link; and
decompressing the data after said step of copying the data from the output end of the communication link.
Exergen Corporation v. Kaz USA, Inc.
Decided by the Federal Circuit on March 8, 2018. (nonprecedential decision)
Patent eligible: YES
Illustrative drawing above. Illustrative patent claim(s) appear at the end.
Why it passed the Alice Challenge
Unconventional technological solution (combination of two previously known but uncorrelated AVA and thermodynamic scientific principles) to a technological problem (unmet need particularly in pediatric medicine for accurate temperature measurements taken by less intrusive instruments than ear thermometers).
PSAI-PG℠ Analysis
Problem: Unmet need particularly in pediatric medicine for accurate temperature measurements taken by less intrusive instruments than ear thermometers.
Solution: Accurately determining a person’s deep body temperature by taking measurements of the skin temperature over the temporal artery.
Abstract Idea (patent ineligible subject matter) [natural laws or phenomena (not abstract idea) is the focus in these diagnostic claims]: The absence of arteriovenous anastomoses (AVAs) that would create a relatively constant blood flow in certain arteries close to the skin surface, including the temporal artery AND the principles of thermodynamics embodied by the heat transfer equations disclosed in the patents.
Improvement: Novel combination of two previously known but uncorrelated AVA and thermodynamic scientific principles.
Patent eligible application
Preemption: NO. It is narrowly drawn to not preempt any and all development by others of ideas based on either or both AVA and thermodynamic principles. Specifically, an artery’s lack of AVAs may prove useful in medical applications other than temperature measurement, and the heat transfer equations at issue have already been used in ways that are not covered by the patents-in-suit.
General function: NO. No evidence that the following features were “well-understood, routine, or conventionally used to detect arterial temperature beneath the skin before the patent – namely, (1) moving while (laterally) scanning (’685 patent claims 7, 14, and 17; ’938 patent claims 17, 24, 33, 60, and 66), obtaining a peak temperature reading (’685 patent claim 7; ’938 patent claims 60 and 66), and obtaining at least three readings per second (’938 patent claims 17, 24, 39, 40, 46, and 49).
As Diehr incorporated a well-known mathematical formula in his claim for rubber curing process is not a general function and was patent eligible, so too the incorporation of well-known AVA and thermodynamic scientific principles into claims for noninvasively and accurately detecting human body temperature is not a general function and so is patent eligible.
Pat 7,787,938 Illustrative Claims 48 and 49 reciting “three readings” feature
Note the Federal Circuit opinion erroneously identifies these claims as coming from Pat 6,292,685
48. A body temperature detector comprising:
a radiation detector; and
electronics that measure radiation from at least three readings per second of the radiation detector as a target skin surface over an artery is viewed, the artery having a relatively constant blood flow, and that process the measured radiation to provide a body temperature approximation, distinct from skin surface temperature, based on detected radiation.
49. The body temperature detector of claim 48, wherein the artery is a temporal artery.
Pat 7,787,938 Illustrative Claims 57 and 66 reciting “peak temperature” feature
57. A method of detecting human body temperature comprising: moving a temperature detector to scan across skin of a region of a forehead; and providing a body temperature approximation from a peak temperature reading from plural readings taken from plural locations during the scan.
66. A method as claimed in claim 57 wherein the scan is over a temporal artery
Pat 6,292,685 Illustrative Claim 14 reciting “scan” feature
14. A method of detecting human body temperature comprising:
detecting temperature at a forehead through a lateral scan across the temporal artery; and
computing an internal body temperature of the body as a function of ambient temperature and sensed surface temperature
Berkheimer v. HP Inc. et al.
Decided by the Federal Circuit February 8, 2018
Patent Eligible: YES (Claims 4-7, So Far)
NO (Claims 1-3, 9)
The Berkheimer case is pending further action in the District Court. Claims 4 through 7 passed Alice on appellate record but were remanded back to the lower court for more factual development on “Whether something is well-understood, routine, and conventional to a skilled artisan at the time of the patent.”
Illustrative drawing above. Illustrative patent claim(s) appear at the end.
Why it passed the Alice Challenge (So Far)
Unconventional technological solution (an object in documents are linked to allow reconciling of documents and edit of one document to effect a one-to-many change in a plurality of archived items) to a technological problem (elimination of redundancies, improvement of system efficiency, reduction of storage requirements, and enablement of a single edit to a stored object to propagate throughout all documents linked to that object).
PSAI-PG℠ Analysis
Problem: Redundant storage of object structures having common text and graphical elements (e.g., corporate logo of acquired company object structure in documents of acquired company and corporate logo in documents of acquiring company post-merger).
Solution: Linking of object structure in documents to allow elimination of redundancy and the one-to-many editing feature.
Abstract Idea (patent ineligible subject matter): Claim 4 is directed to the abstract idea of parsing, comparing, and storing data; and claims 5–7 are directed to the abstract idea of parsing, comparing, storing, and editing data.
Claims 1–3 and 9 are directed to the abstract idea of parsing and comparing data.
Improvement:
Claims 4-7 improvement: Singular linked object, common to many documents or files, can be edited once and have the consequence of the editing process propagate through all of the linked documents and files.
Claims 1-3 and 9 improvement: Parsing transforms the data structure from source code to object code.
Patent eligible application
Preemption: Claims 4-7. NO (So Far). It is narrowly drawn to not preempt any and all parsing and comparing of data.
Claims 1-3 and 9. YES. Preempts conventional steps for of parsing and comparing data.
General Function: Claims 4-7. NO (So Far). The claimed process uses a combined order of specific rules that renders information into a specific format that is then used and applied to create desired results: a linking of object structure to other structures to thereby effect a one-to-many change in a plurality of archived items. While the rules are embodied in computer software that is processed by general-purpose computers, Defendants provided no evidence that the process previously used for storing object structures is the same as the process required by the claims.
Claims 1-3 and 9. YES. Parsing and comparing data implemented with generic components.
Pat 7,447,713, Illustrative Claims 1 and 4-7
1. A method of archiving an item in a computer processing system comprising:
presenting the item to a parser;
parsing [“parser” construed to mean “a program that dissects and converts source code into object code”] the item into a plurality of multipart object structures wherein portions of the structures have searchable information tags associated therewith;
evaluating the object structures in accordance with object structures previously stored in an archive [“evaluating the object structures in accordance with object structures previously stored in an archive” construed to mean “analyzing the plurality of multi-part object structures obtained by parsing and comparing it with object structures previously stored in the archive to determine if there is variance between the object and at least one of a predetermined standard and a user defined rule”];
presenting an evaluated object structure for manual reconciliation at least where there is a predetermined variance between the object and at least one of a predetermined standard and a user defined rule.
4. The method as in claim 1 which includes storing a reconciled object structure in the archive without substantial redundancy.
5. The method as in claim 4 which includes selectively editing an object structure, linked to other structures to thereby effect a one-to-many change in a plurality of archived items.
6. The method as in clam 5 which includes compiling an item to be output from the archive, wherein at least one object-type structure of the item has been edited during the one-to-many change and wherein the compiled item includes a plurality of linked object-type structures converted into a predetermined output file formal.
7. The method as in claim 6 which includes compiling a plurality of items wherein the at least one object-type structure had been linked in the archive to members of the plurality.
Core Wireless Licensing v. LG Electronics et al.
Decided by the Federal Circuit January 25, 2018
Patent eligible: YES
Illustrative drawing above. Illustrative patent claim(s) appear at the end.
Why it passed the Alice Challenge
Unconventional technological solution (displaying an application launcher for several applications, displaying data within applications in the launcher, and allowing a user to launch an application to the displayed data for further navigation) to a technological problem (navigating applications quickly and efficiently to access data and activate a desired function).
PSAI-PG℠ Analysis
Problem: Navigating applications quickly and efficiently to access data and activate a desired function.
Solution: (i) Display one or more applications (e.g., a message application, a contacts application, a calendar application, a phone application) in an application launcher; (ii) Display data stored in the one or more applications (e.g., 0 messages in the message application, 2 SMS messages in the SMS application); and (iii) Launching an application to the displayed data for further navigation.
Abstract Idea (patent ineligible subject matter): NO. The claims are directed to an improvement of displaying an application launcher for several applications, displaying data within applications in the launcher, and allowing a user to launch an application to the displayed data for further navigation. The claims do not recite an abstract idea.
Improvement: Selection of selectable display data within applications displayed on launcher navigate user directly to the display data within the application selected.
Patent eligible application
Preemption: NO. Since not abstract.
General function: NO. Since not abstract.
Pat 8,434,020, Illustrative Claim 1
1. A computing device comprising
a display screen,
the computing device being configured to display on the screen a main menu listing at least a first application, and
additionally being configured to display on the screen an application summary window that can be reached directly from the main menu,
wherein the application summary window displays a limited list of at least one function offered within the first application,
each function in the list being selectable to launch the first application and initiate the selected function, and
wherein the application summary window is displayed while the application is in an un-launched state.
Pat 8,713,476, Illustrative Claim 1
1. A computing device comprising a display screen,
the computing device being configured to display on the screen a menu listing one or more applications, and
additionally, being configured to display on the screen an application summary that can be reached directly from the menu,
wherein the application summary displays a limited list of data offered within the one or more applications,
each of the data in the list being selectable to launch the respective application and enable the selected data to be seen within the respective application, and
wherein the application summary is displayed while the one or more applications are in an un-launched state.
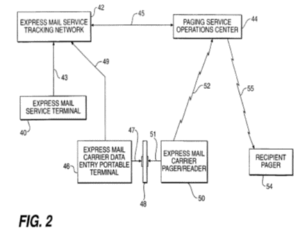
Mobile Telecommunications Technologies, LLC v. United Parcel Service, Inc.
Decided by the Federal Circuit Court January 11, 2018
Patent eligible: NO
Illustrative drawing above. Illustrative patent claim(s) appear at the end.
Why it failed the Alice Challenge
Conventional technological solution (SMS and text messaging) to a technological problem (notifying customers that their delivery has arrived or is late).
PSAI-PG℠ Analysis
Problem: Getting information on status of an express mailing requires a person to call an 800 telephone number for the information. In other words, the tracking network requires action by persons, typically mailers, to determine whether critical express mailings have been successfully delivered to addressees.
Solution: Associate a page number to an express mailing and paging the recipient when the express mailing is delivered.
Abstract Idea (patent ineligible subject matter): Delivery notification for express packages.
Improvement: Send an express mail tracking service an ID number assigned to an express mailing and a page number of a delivery notification recipient. Relay the ID and page number to a paging operations center. Alert the paging operations center that the express mail has been delivered. Transmit a wireless page message to the recipient to notify of the express mailing delivery.
Patent Eligible Application
Preemption: YES. Preempts conventional steps for implementing the abstract idea by covering most popular methods of communication currently available in SMS text messages and e-mail.
General Function: YES. Delivery notification is implemented with generic components, using two of the most popular methods of communication currently available in SMS text messages and email.
Pat 5,786,748, Illustrative Claim 1
A method for providing notification of an express mail delivery to an addressee thereof, comprising the steps of:
sending to an express mail tracking service [“express mail tracking service that tracks the delivery status of a package” construed to mean “a network or service,”] an ID number assigned to an express mailing and a page number of a delivery notification recipient;
relaying the ID, page number, and an appointed time to a paging operations center [“paging operations center” construed to mean “a center that receives and processes information related to an express mailing, and transmits wireless page messages to the delivery notification recipient.”];
providing a second indication to the paging operations center that the express mailing has not been delivered to the addressee by the appointed time;
transmitting, responsive to the first indication, a wireless page message to the recipient as notification of the express mailing delivery; and
transmitting, responsive to the second indication, a wireless page message to the recipient notifying recipient that the express mailing has not been delivered by the appointed time.
Amdocs v Openet Telecom et al.
Decided by the Federal Circuit Court November 1, 2016
Petition for Certiori denied by the Supreme Court November 27, 2017
Patent eligible: YES
Illustrative drawing above. Illustrative patent claim(s) appear at the end.
Why it passed the Alice Challenge
Unconventional technological solution (using a field enhancement to specify how the data obtained from the trigger of the enhancement procedure is processed before it is placed in a single field in the central database) to a technological problem (reduce congestion in network bottlenecks but still allow the data to be accessible from a central location).
PSAI-PG℠ Analysis
Problem: All the network information flows to one location, making it very difficult to keep up with the massive record flows from the network devices and requiring huge databases.
Solution: Enhancing data in a distributed fashion) to a technological problem (massive record flows which previously required massive databases).
Abstract Idea (patent ineligible subject matter): Correlating two network accounting records to enhance the first record.
Improvement: Distributed data gathering, filtering and enhancements performed in the system enables load distribution. Granular data can reside in the peripheries of the system, close to the information sources. This helps reduce congestion in network bottlenecks but still allows the data to be accessible from a central location.
Patent Eligible Application
Preemption: NO. It is narrowly drawn to not preempt any and all generic enhancement of data in a similar system.
General function NO. A field enhancement specifies how the data obtained from the trigger of the enhancement procedure is processed before it is placed in a single field in the central database. By combining IP session data from multiple sources, such as authentication servers, DHCP and Domain Name servers, the gatherers create meaningful session records tailored to the network service provider’s specific requirements.
The gatherers also operate in a distributed fashion, and the gatherers depend upon the ISMs which receive information from network devices. Claim 1 includes the enhancing limitation which is individually sufficient for eligibility. This enhancing limitation necessarily involves the arguably generic gatherers, network devices, and other components working in an unconventional distributed fashion to solve a particular technological problem.
Pat 7,631,065, Illustrative Claim 1
A computer program product embodied on a computer readable storage medium for processing network accounting information comprising:
computer code for receiving from a first source a first network accounting record
computer code for correlating the first network accounting record with accounting information available from a second source; and
computer code for using the accounting information with which the first network accounting record is correlated to enhance [“enhance” construed to mean “to apply a number of field enhancements in a distributed fashion.” “distributed fashion” construed to mean “the network usage records are processed close to their sources before being transmitted to a centralized manager”] the first network accounting record.
Pat 7,412,510, Illustrative Claim 16
A computer program product stored in a computer readable medium for reporting on a collection of network usage information from a plurality of network devices, comprising:
computer code for collecting network communications usage information in real-time from a plurality of network devices at a plurality of layers;
computer code for filtering and aggregating the network communications usage information;
computer code for completing [“completing” construed to mean “enhance a record until all required fields have been populated.” [“enhance” construed to mean “to apply a number of field enhancements in a distributed fashion.” “distributed fashion” contrued to mean “the network usage records are processed close to their sources before being transmitted to a centralized manager”] a plurality of data records from the filtered and aggregated network communications usage information, the plurality of data records corresponding to network usage by a plurality of users;
computer code for storing the plurality of data records in a database;
computer code for submitting queries to the database utilizing predetermined reports for retrieving information on the collection of the network usage information from the network devices; and
computer code for outputting a report based on the queries; wherein resource consumption queries are submitted to the database utilizing the reports for retrieving information on resource consumption in a network; and wherein a resource consumption report is outputted based on the resource consumption queries.
Pat 6947984, Illustrative Claim 1
A method for reporting on the collection of network usage information from a plurality of network devices, comprising:
(a) collecting network communications usage information in real-time from a plurality of network devices at a plurality of layers utilizing multiple gatherers each including a plurality of information source modules each interfacing with one of the network devices and capable of communicating using a protocol specific to the network device coupled thereto, the network devices selected from the group consisting of routers, switches, firewalls, authentication servers, web hosts, proxy servers, netflow servers, databases, mail servers, RADIUS servers, and domain name servers, the gatherers being positioned on a segment of the network on which the network devices coupled thereto are positioned for minimizing an impact of the gatherers on the network;
(b) filtering and aggregating the network communications usage information;
(c) completing [“completing” construed to mean “enhance a record until all required fields have been populated.” [“enhance” construed to mean “to apply a number of field enhancements in a distributed fashion.” [“distributed fashion” contrued to mean “the network usage records are processed close to their sources before being transmitted to a centralized manager”] a plurality of data records from the filtered and aggregated network communications usage information, the plurality of data records corresponding to network usage by a plurality of users;
(d) storing the plurality of data records in a database;
(e) allowing the selection of one of a plurality of reports for reporting purposes;
(f) submitting queries to the database utilizing the selected reports for retrieving information on the collection of the network usage information from the network devices; and
(g) outputting a report based on the queries.
Pat 6836797, Illustrative Claim 1
A method for generating a single record reflecting multiple services for accounting purposes, comprising:
(a) identifying a plurality of services carried out over a network;
(b) collecting data describing the plurality of services; and
(c) generating a single record including the collected data, wherein the single record represents each of the plurality of services;
wherein the services include at least two services selected from a group consisting of a hypertext transfer protocol (HTTP) session, an electronic mail session, a multimedia streaming session, a voice over Internet Protocol (IP) session, a data communication session, an instant messaging session, a peer-to-peer network application session, a file transfer protocol (FTP) session, and a telnet session;
wherein the data is collected utilizing an enhancement procedure [“enhance” construed to mean “to apply a number of field enhancements in a distributed fashion.” “distributed fashion” construed to mean “the network usage records are processed close to their sources before being transmitted to a centralized manager”] defined utilizing a graphical user interface by: listing a plurality of available functions to be applied in real-time prior to end-user reporting, allowing a user to choose at least one of a plurality of fields, and allowing the user to choose at least one of the listed functions to be applied to the chosen field in real-time prior to the end-user reporting.
McRO v Bandai et al.
Decided by the Federal Circuit Court September 13, 2016
Patent eligible: YES
Illustrative drawing above. Illustrative patent claim(s) appear at the end.
Why it passed the Alice Challenge
Unconventional technological solution (create a keyframe at a point that no phoneme is being pronounced) to a technological problem (animators would initially set keyframes at the point a phoneme was pronounced to represent the corresponding morph target as a starting point for further fine tuning).
PSAI-PG℠ Analysis
Problem: Problem sequences such as transition from silence, shown by the closed-mouthed neutral model, to the morph target for the first syllablee, with its open-mouthed shape. Animator required to subjectively identify the problematic sequence and manually fix it by adding an appropriate keyframe.
Solution: Use of rules to automatically set a keyframe at the correct point to depict more realistic speech, achieving results similar to those previously achieved manually by animators.
Abstract Idea (patent ineligible subject matter): Rules based use of morph targets and delta sets to lip synchronize three-dimensional animation.
Improvement: Automatically create a keyframe at a point that no phoneme is being pronounced unlike prior art setting of keyframes at point a phoneme is pronounced.
Patent eligible application
Preemption: NO. It is narrowly drawn to not preempt any and all keyframes at the point a phoneme is pronounced to represent the corresponding morph target as a starting point for further fine tuning.
General function: NO. The claimed process uses a combined order of specific rules that renders information into a specific format that is then used and applied to create desired results: a sequence of synchronized, animated characters. While the rules are embodied in computer software that is processed by general-purpose computers, Defendants provided no evidence that the process previously used by animators is the same as the process required by the claims.
Pat 8908842, Illustrative Claim 1
A method for automatically animating lip synchronization and facial expression of three-dimensional characters comprising:
obtaining a first set of rules that defines a morph weight set stream as a function of phoneme sequence and times associated with said phoneme sequence;
obtaining a plurality of sub-sequences of timed phonemes corresponding to a desired audio sequence for said three-dimensional characters;
generating an output morph weight set stream by applying said first set of rules to each sub-sequence of said plurality of sub-sequences of timed phonemes; and
applying said output morph weight set stream to an input sequence of animated characters to generate an output sequence of animated characters with lip and facial expression synchronized to said audio sequence.
Bascom Global Internet Services, Inc. v. AT&T Mobility LLC et al.
Decided by the Federal Circuit Court June 27, 2016
Patent eligible: YES
Illustrative drawing above. Illustrative patent claim(s) appear at the end.
Why it passed the Alice Challenge
Unconventional technological solution (installation of a filtering tool at a specific location, remote from the end-users, with customizable filtering features specific to each end user) to a technological problem (applying a specific user’s filtering mechanism to the websites requested by that user without requiring extensive servers and allowing user circumvention of the filter on his computer).
PSAI-PG℠ Analysis
Problem: Providing Internet-content filtering in a manner that can be customized for the person attempting to access such content while avoiding the need for (potentially millions of) local servers or computers to perform such filtering and while being less susceptible to circumvention by the user.
Solution: Installation of a filtering tool at a specific location, remote from the end-users, with customizable filtering features specific to each end user.
Abstract Idea (patent ineligible subject matter): Filtering content on the Internet.
Improvement: User customizable filter at a remote server. This design gives the filtering tool both the benefits of a filter on a local computer and the benefits of a filter on the ISP server.
Patent eligible application
Preemption: NO. It is narrowly drawn to not preempt any and all generic filering of content on the Internet.
General function: NO. The claims carve out a specific location for the filtering system (a remote ISP server) and require the filtering system to give users the ability to customize filtering for their individual network accounts.
Pat 5,987,606, Illustrative Claim
22. An ISP server for filtering content forwarded to controlled access network account generating network access requests at a remote client computer, each network access request including a destination address field, said ISP server comprising:
a master inclusive-list of allowed sites;
a plurality of sets of exclusive-lists of excluded sites, each controlled access network account associated with at least one set of said plurality of exclusive-lists of excluded sites; and
a filtering scheme, said filtering scheme allowing said network access request if said destination address exists on said master inclusive-list but not on said at least one associated exclusive-list, whereby said controlled access accounts may be uniquely associated with one or more sets of excluded sites.
Enfish, LLC v. Microsoft Corporation et al.
Decided by the Federal Circuit Court May 12, 2016
Patent eligible: YES
Illustrative drawing above. Illustrative patent claim(s) appear at the end.
Why it passed the Alice Challenge
Unconventional technological solution (faster searching in a self-referential fashion) to a technological problem (massive data indexing which previously required massive databases).
PSAI-PG℠ Analysis
Problem: Deployment of a relational database often involves extensive modeling and configuration of the various tables and relationships in advance of launching the database.
Solution: Installation of a filtering tool at a specific location, remote from the end-users, with customizable filtering features specific to each end user.
Abstract Idea (patent ineligible subject matter) NO. The claims are directed to an improvement to computer functionality and not an abstract idea.
Improvement: Self-referential table for a computer database.
Patent eligible application
Preemption NO. Since not abstract.
General function NO. Since not abstract.
Pat 6,151,604, Illustrative Claim 17
A data storage and retrieval system for a computer memory, comprising:
means for configuring [construed as below] said memory according to a logical table, said logical table including:
a plurality of logical rows, each said logical row including an object identification number (OID) to identify each said logical row, each said logical row corresponding to a record of information;
a plurality of logical columns intersecting said plurality of logical rows to define a plurality of logical cells, each said logical column including an OID to identify each said logical column; and
means for indexing data stored in said table.
Construction
“means for configuring” means:
1. Create, in a computer memory, a logical table that need not be stored contiguously in the computer memory, the logical table being comprised of rows and columns, the rows corresponding to records, the columns corresponding to fields or attributes, the logical table being capable of storing different kinds of records.
2. Assign each row and column an object identification number (OID) that, when stored as data, can act as a pointer to the associated row or column and that can be of variable length between databases.
3. For each column, store information about that column in one or more rows, rendering the table self-referential, the appending, to the logical table, of new columns that are available for immediate use being possible through the creation of new column definition records.
4. In one or more cells defined by the intersection of the rows and columns, store and access data, which can include structured data, unstructured data, or a pointer to another row.
DDR Holdings LLC v. Hotels.com, L.P. et al.
Decided by the Federal Circuit December 5, 2014
Patent eligible: YES
Illustrative drawing above. Illustrative patent claim(s) appear at the end.
Why it passed the Alice Challenge
Unconventional technological solution (directing the visitor to an automatically-generated hybrid web page that combines visual “look and feel” elements from the host website and product information from the third-party merchant’s website related to the clicked advertisement) to a technological problem (losing a website visitor who clicks on a third party hyperlink on the web page).
PSAI-PG℠ Analysis
Problem: Retaining website visitors that, if adhering to the routine, conventional functioning of Internet hyperlink protocol, would be instantly transported away from a host’s website after “clicking” on an advertisement and activating a hyperlink.
Solution: Direct visitor website clicks to a replica of the clicked site creaed by and under the control of the host website.
Abstract Idea (patent ineligible subject matter): Creating a store within a store (i.e., a web page kiosk of third party web page on the host party’s web site).
Improvement: Outsource provider having a web server which directs the visitor to an automatically-generated hybrid web page that combines visual “look and feel” elements from the host website and product information from the third-party merchant’s website related to the clicked advertisement.
Patent eligible application
Preemption NO. Claims do not preempt every application of the idea of increasing sales by making two web pages look the same, or of any other variant. They recite a specific way to automate the creation of a composite web page by an “outsource provider” that incorporates elements from multiple sources in order to solve a problem faced by websites on the Internet.
General function NO. The claims are not merely the routine or conventional use of the Internet. Rather, they recite a specific way to automate the creation of a composite web page by an “outsource provider” that incorporates elements from multiple sources in order to solve problem faced by websites on the Internet.
Pat 6,993,572 , Illustrative Claim 13
An e-commerce outsourcing system comprising:
a) a data store including a look and feel [construed to mean “a set of elements related to visual appearance and user interface conveying an overall appearance identifying a website; such elements include logos, colors, page layout, navigation systems, frames, ‘mouseover’ effects, or others elements consistent through some or all of the website”] description associated with a host web page having a link correlated with a commerce object; and
b) a computer processor coupled to the data store and in communication through the Internet with the host web page and programmed, upon receiving an indication that the link has been activated by a visitor computer in Internet communication with the host web page, to serve a composite web page to the visitor computer wit[h] a look and feel [constured to mean “a set of elements related to visual appearance and user interface conveying an overall appearance identifying a website; such elements include logos, colors, page layout, navigation systems, frames, ‘mouseover’ effects, or others elements consistent through some or all of the website”] based on the look and feel description in the data store and with content based on the commerce object associated wit[h] the link.
Pat 7,818,399, Illustrative Claim 19
A system useful in an outsource provider serving web pages offering commercial opportunities, the system comprising:
(a) a computer store containing data, for each of a plurality of first web pages, defining a plurality of visually perceptible elements [construed to mean “look and feel” [construed to mean “a set of elements related to visual appearance and user interface conveying an overall appearance identifying a website; such elements include logos, colors, page layout, navigation systems, frames, ‘mouseover’ effects, or others elements consistent through some or all of the website”] elements that can be seen”], which visually perceptible elements correspond to the plurality of first web pages;
(i) wherein each of the first web pages belongs to one of a plurality of web page owners;
(ii) wherein each of the first web pages displays at least one active link associated with a commerce object associated with a buying opportunity of a selected one of a plurality of merchants; and
(iii) wherein the selected merchant, the outsource provider, and the owner of the first web page displaying the associated link are each third parties with respect to one other;
(b) a computer server at the outsource provider, which computer server is coupled to the computer store and programmed to: (i) receive from the web browser of a computer user a signal indicating activation of one of the links displayed by one of the first web pages;
(ii) automatically identify as the source page the one of the first web pages on which the link has been activated;
(iii) in response to identification of the source page, automatically retrieve the stored data corresponding to the source page; and
(iv) using the data retrieved, automatically generate and transmit to the web browser a second web page that displays: (A) information associated with the commerce object associated with the link that has been activated, and (B) the plurality of visually perceptible elements visually corresponding to the source page.
Ultramercial, Inc. v Hulu, LLC et al.
Decided by the Federal Circuit November 14, 2014
Patent eligible: NO
Illustrative drawing above. Illustrative patent claim(s) appear at the end.
Why it failed the Alice Challenge
Conventional technological solution (internet) to an abstract problem (showing content on customer agreement to view advertisement).
PSAI-PG℠ Analysis
Problem: Loss of returns on internet advertising due to internet users bypassing advertisements when accessing content.
Solution: Showing an advertisement before delivering free content.
Abstract Idea (patent ineligible subject matter): Offering free media in exchange for watching advertisements.
Improvement: Distributing copyrighted media products over the Internet where the consumer receives a copyrighted media product at no cost in exchange for viewing an advertisement, and the advertiser pays for the copyrighted content.
Patent eligible application
Preemption YES. Preempts conventional steps for implementing the abstract idea.
General function: YES. Each step simply instructs the practitioner to implement an abstract idea on a generic computer.
Pat 7,346,545, Illustrative Claim 1
A method for distribution of products over the Internet via a facilitator, said method comprising the steps of:
a first step of receiving, from a content provider, media products that are covered by intellectual-property rights protection and are available for purchase, wherein each said media product being comprised of at least one of text data, music data, and video data;
a second step of selecting a sponsor message to be associated with the media product, said sponsor message being selected from a plurality of sponsor messages, said second step including accessing an activity log to verify that the total number of times which the sponsor message has been previously presented is less than the number of transaction cycles contracted by the sponsor of the sponsor message;
a third step of providing the media product for sale at an Internet website;
a fourth step of restricting general public access to said media product;
a fifth step of offering to a consumer access to the media product without charge to the consumer on the precondition that the consumer views the sponsor message;
a sixth step of receiving from the consumer a request to view the sponsor message, wherein the consumer submits said request in response to being offered access to the media product;
a seventh step of, in response to receiving the request from the consumer, facilitating the display of a sponsor message to the consumer;
an eighth step of, if the sponsor message is not an interactive message, allowing said consumer access to said media product after said step of facilitating the display of said sponsor message;
a ninth step of, if the sponsor message is an interactive message, presenting at least one query to the consumer and allowing said consumer access to said media product after receiving a response to said at least one query;
a tenth step of recording the transaction event to the activity log, said tenth step including updating the total number of times the sponsor message has been presented; and
an eleventh step of receiving payment from the sponsor of the sponsor message displayed.
Alice Corporation Pty. Ltd v. CLS Bank International et al.
Decided by the Supreme Court June 19, 2014
Patent eligible: NO
Illustrative drawing above. Illustrative patent claim(s) appear at the end.
Why it failed
Conventional technological solution (general computer processing) to an abstract problem (settlement risk management).
PSAI-PG℠ Analysis
Problem: Settlement risk which is the risk to each party in an exchange that only one of the two parties will actually pay its obligation, leaving the paying party without its principal or the benefit of the counterparty’s performance.
Solution: Relying on a trusted third party to ensure the exchange of either both parties’ obligations or neither obligation.
Abstract Idea (patent ineligible subject matter): Employing an intermediary to facilitate simultaneous exchange of obligations in order to minimize risk.
Improvement: Providing a computerized trading platform used for conducting financial transactions in which a third party settles obligations between a first and a second party so as to eliminate “counterparty” or “settlement” risk.
Patent eligible application
Preemption: YES. Claims simply recite the abstract concept of intermediated settlement as performed by a generic computer.
General function: YES. The claims recite mere instructions to “implement” an abstract idea “on … a computer.” The claimed method requires the use of a computer to merely create electronic records, track multiple transactions, and issue simultaneous instructions. In other words, the computer is itself the intermediary. The function performed by the computer at each step of the process is “purely conventional.”
Pat 5,970,479 , Illustrative Claim 13
A method of exchanging obligations as between parties, each party holding a credit record and a debit record with an exchange institution, the credit records and debit records for exchange of predetermined obligations, the method comprising the steps of:
(a) creating a shadow credit record and a shadow debit record for each stakeholder party to be held independently by a supervisory institution from the exchange institutions;
(b) obtaining from each exchange institution a start-of-day balance for each shadow credit record and shadow debit record;
(c) for every transaction resulting in an exchange obligation, the supervisory institution adjusting each respective party’s shadow credit record or shadow debit record, allowing only these transactions that do not result in the value of the shadow debit record being less than the value of the shadow credit record at any time, each said adjustment taking place in chronological order, and
(d) at the end-of-day, the supervisory institution instructing on[e] of the exchange institutions to exchange credits or debits to the credit record and debit record of the respective parties in accordance with the adjustments of the said permitted transactions, the credits and debits being irrevocable, time invariant obligations placed on the exchange institutions.

Juhasz Burge PC six-step analytic process helps determine the risk and probability that your patent claims will survive an Alice challenge.



















